【第一商用车网 原创】
近日,工信部发布申报第320批新车公告。小编注意到,有近百款混凝土搅拌运输车申报在榜,其中混凝土搅拌运输车94款,混凝土搅拌运输半挂车1款,混凝土搅拌运输车底盘2款。
从企业来看,本次申报的混凝土搅拌运输车,一共涉及28家企业,既有整车类重卡主机厂,也有改装性质的专用企业生产企业。从品牌来看,唐山亚特专用车汽车数量最多,本次公告有13款混凝土搅拌车申报在榜;其次是重汽豪沃和重汽汕德卡,各有9款混凝土搅拌车申报在榜;芜湖中集瑞江和三一汽车并列第三位,各有7款混凝土搅拌运输车申报在榜;洛阳中集凌宇和神州永达汽车并列第四位,各有5款混凝土搅拌车申报在榜。

唐山亚特唐山亚特专用车汽车生产的搅拌运输车
但若从集团来看,则是重汽搅拌运输车申报数量最多,旗下有豪沃牌、汕德卡牌、豪曼牌、运力牌、青专牌,对应数量为9款、9款、1款、3款、3款,累计上榜25款混凝土搅拌车,占比超1/4。由此可见,重汽对这一细分市场志在必得。

重汽豪沃搅拌运输车
值得注意的是,这97款搅拌运输车中,多数车辆是专用车企业在卡车底盘改装而成。小编注意到,这些搅拌运输车至少有一半采用的是重汽底盘,有豪沃、豪瀚、汕德卡和斯太尔。另外有部分底盘来自东风、解放、福田、华菱、红岩和日野等。
既然重汽车型最多,重汽底盘也最多,配套的发动机也多以重汽为主,如重汽MC系列发动机和D10系列发动机,其中MC11.44-60发动机提供最大功率440马力。其次便是潍柴发动机,WP7、WP9H、WP10、WP10H、WP12等为搅拌运输车提供丰富动力选择。另外,福田康明斯、汉马动力配套数量也比较突出,其中福康发动机配套的3款混凝土搅拌车实现了国六排放,X12NS6B440发动机提供最高440马力功率。
从排放来看,本批次的混凝土搅拌运输车以国五排放居多,国六车型占比约三成。配套的国六发动机,有锡柴奥威CA6DL、重汽MC系列、福田康明斯X12N、大柴CA6DK1、潍柴WP10H等。
本批次公告上榜的所有混凝土搅拌车整车,搅动容量都在8立方米及以下。
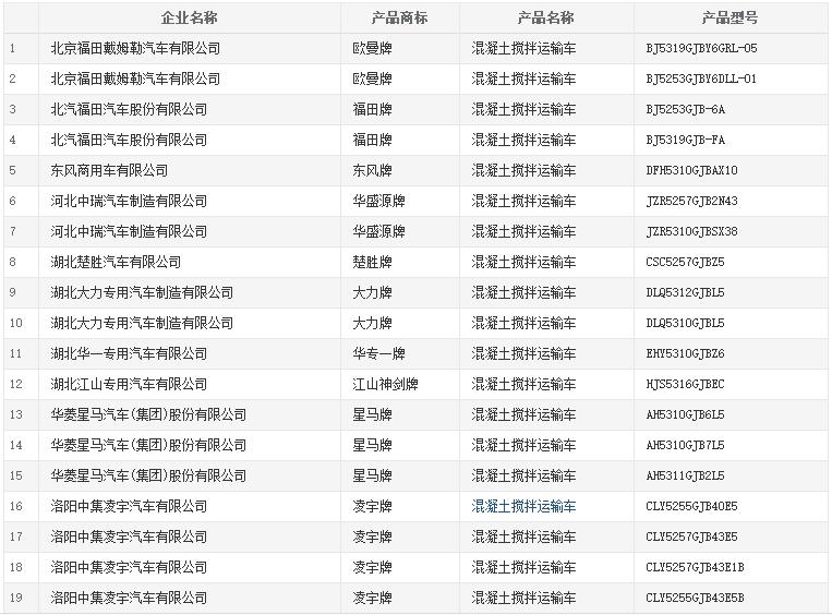
第320批新车公告被列入的97款搅拌运输车如下:







因工信部新车公示单一页只能展示30款车型,所以以上97款车型在序号上有点不是很连贯